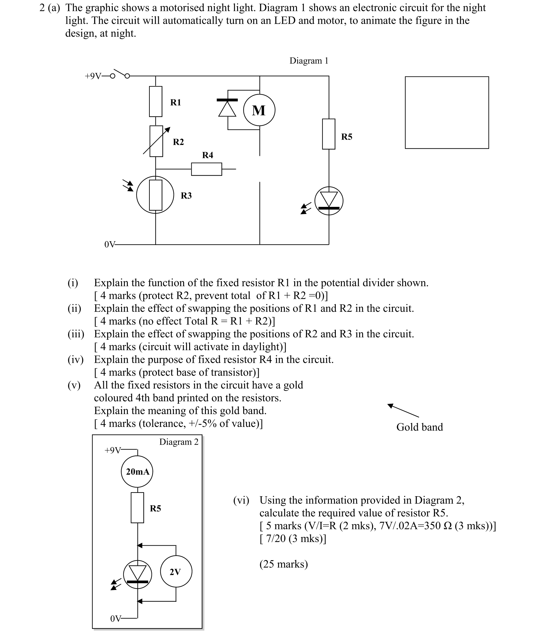
StikLeaf

electricity and basic circuits Questions

Junior CycleApplied TechnologyCommon

Total Questions

96

With Solutions

91

Mock Papers

Soon...

Year Range

2008-2024

All Questions (96)